It's common to test blood sugar by pricking a finger if you're diabetic, but what if there was an easier way? Apple appears to be working on it.
The US Patent and Trademark Office published two patent applications Thursday that suggest Apple is working on devices that could potentially smell the environment.
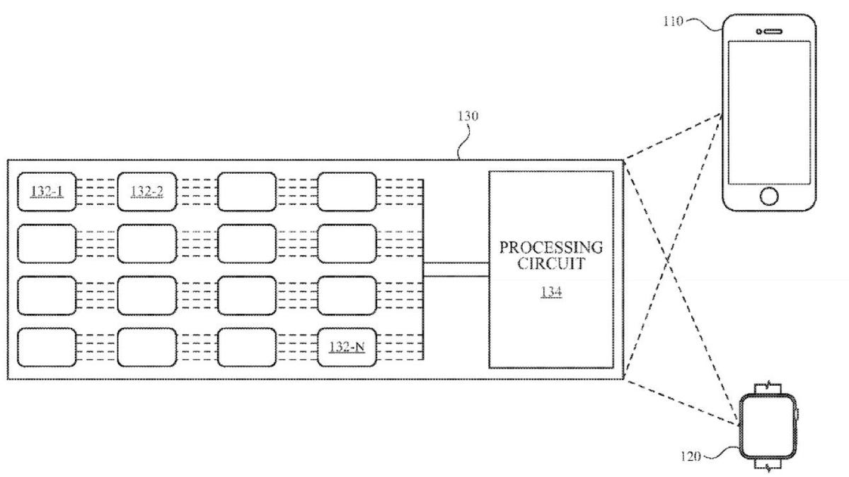
One application details the "systems and methods for environmental sensing." While this is mainly meant to detect toxic gases related to environmental hazards, the patent application notes that it also applies to "spoiled food material detection, body odor detection and health applications."
The application specifically suggests it could "measure compounds in human sweat and alert the user about his sugar levels."
The other application for a "compact particulate material sensor" is geared toward detecting pollution.
The patent applications were reported earlier Thursday by Apple Insider.
Apple previously drew up plans for a potential glucose monitoring device that were published by the patent office last August. However, Apple's efforts to patent a technology doesn't guarantee it'll ever land in an actual product.
The company didn't immediately respond to a request for comment.


