Mobile devices don't always interpret touch gestures correctly. A new patent application from Apple, which CNET also reported about here, suggests one way to improve their accuracy.
Published Thursday by the US Patent and Trademark Office, a patent dubbed "Gesture and Touch Input Detection Through Force Sensing" explains a way of adding force sensors to a touch screen. Such sensors would recognize certain types of swipes and better distinguish accidental gestures from the real thing.
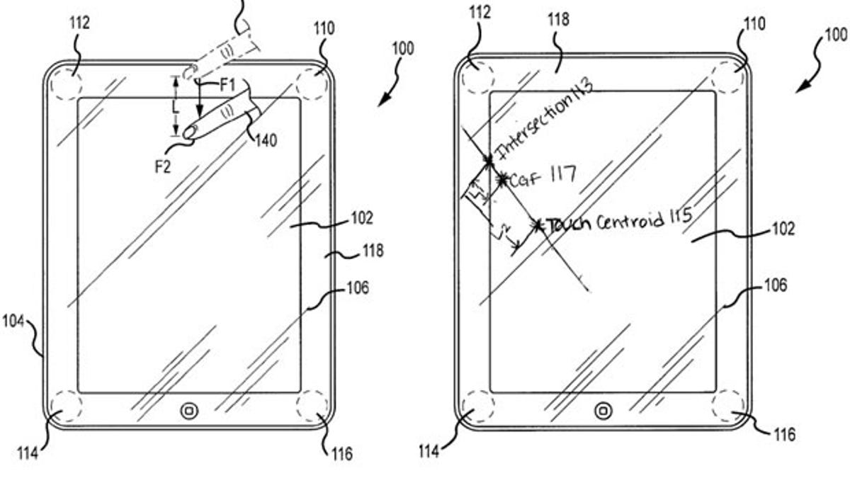
As envisioned by Apple, three or four force sensors would be outfitted with a device's touch screen. But the sensors would not necessarily be placed right behind the viewable screen. Instead, they would be set up in outlying areas, such as in the bezel that surrounds the visible screen.
When you touch or press down on a part of the touch screen, the sensor closest to that area calculates the pressure of your touch to determine the center of the force, known in the patent filing as a "force centroid." Your device then analyzes the force centroid in conjunction with any other detected touch gestures.
That analysis can be used to figure out if your input should be treated as a single touch gesture or a multitouch gesture. For example, you may simply be resting your thumb at the top of your touch screen. Should that gesture be calculated into the mix or ignored? The force centroid would help answer that question.
As another example, you may start swiping your finger in an area outside the active touch-sensitive region. How should that swipe be interpreted? The force centroid would again step in to provide an answer.
Mobile phones and tablets could certainly use such a technology. But Apple's patent filing also mentions laptops, portable gaming consoles, and digital music players as beneficiaries.
(Via AppleInsider)


